





Oft werden Transport-Volumen gebraucht, die mit einem Solo-LKW nicht zu leisten sind. Ein abgestimmtes Anhänger-Konzept schafft hierbei optimale Lösungen für alle Einsätze.
Tandem-Mulden-Anhänger.
Boden Einfachboden aus Nadelholz, 50mm stark.
Muldenarret. 4 umsteckbare Muldenanschläge in 2 Positionen steckbar zum seitlichen Zentrieren der Mulden, eine GleitblechAuflage 750 x 1.000mm, 2 Muldenanschläge vorne in 2 Positionen steckbar. 2 UVV-Zurringe 5t zum Einhängen von Spannelementen, hiermit müssen die Mulden form- und kraftschlüssig verspannt werden.
Gesamtgewicht | 11.000 kg |
---|---|
Nutzlast | 9.100 kg |
Stützlast | 1.000 kg |
Pritschenbreite i. L. | 2.010 mm |
Bodenhöhe belastet ca. | 600 mm |
Bordwandhöhe | 380 mm |
Achsabstand | 990 mm |
Bereifung | 235 / 75 R 17.5 |
Gesamtgewicht | 13.500 kg |
---|---|
Nutzlast | 11.100 kg |
Stützlast | 1.000 kg |
Pritschenbreite i. L. | 1.920 mm |
Bodenhöhe belastet ca. | 710 mm |
Bordwandhöhe | 380 mm |
Achsabstand | 1.140 mm |
Bereifung | 235/75R19.5 |
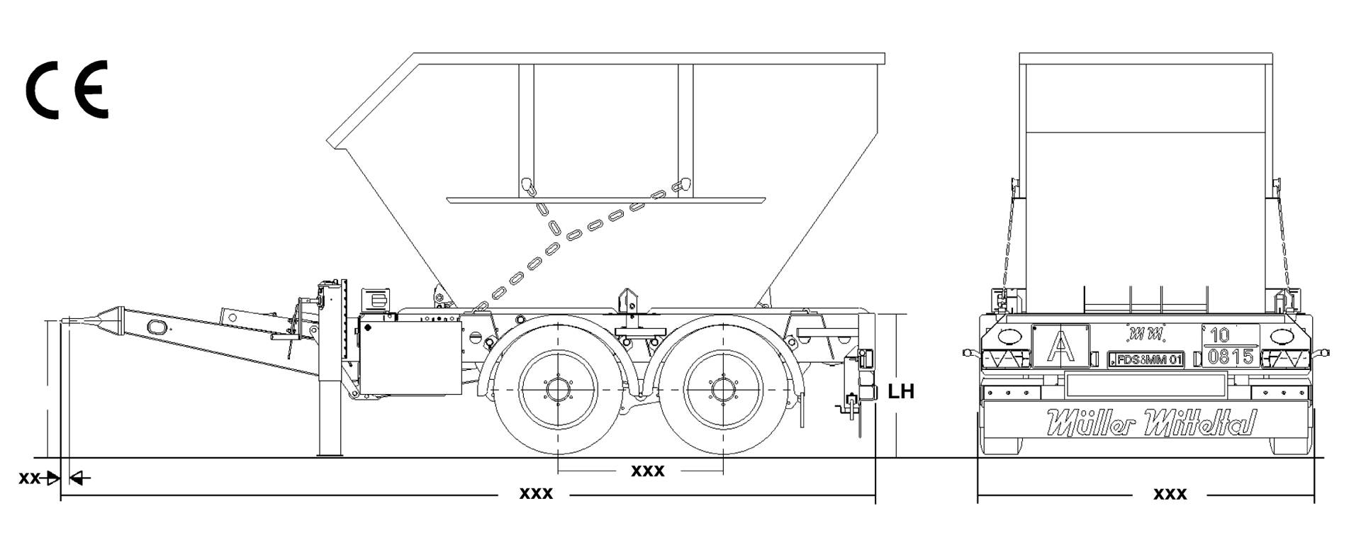
Tandem-Mulden-Anhänger.
Abstützung Höhenverstellbare Stützwinde vorne mit Last- und Schnellgang und 2 bedienungsfreundliche, außen liegende Fallstützen hinten.
Muldenarret. 2 umsteckbare Muldenanschläge zum seitlichen Zentrieren der Mulden, Muldenanschläge vorne mit pendelbarem Anschlag, in 4 Positionen steckbar. 4 UVV-Zurringe 10600 daN zum Einhängen von Spannelementen, hiermit muss die Mulde form- und kraftschlüssig verspannt werden.
Lackierung Fahrgestell mit Zugrohr feuerverzinkt
Ladehöhe beladen ca. 945mm
Behälter nach DIN 30720-1 <=10 m³
Gesamtgewicht | 13.500 kg |
---|---|
Eigengewicht | 2.140 kg |
Nutzlast | 11.360 kg |
Stützlast | 1.000 kg |
Bereifung | 285/70R19.5 |
Gesamtgewicht | 14.400 kg |
---|---|
Eigengewicht | 2.140 kg |
Nutzlast | 11.360 kg |
Stützlast | 1.000 kg |